公差配合与测量技术(7/10)螺纹的公差配合及测量

发布时间:2024-09-18

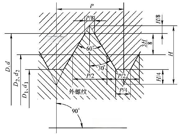
Image

螺纹是机械制造中最常见的连接方式之一,其公差配合直接影响着产品的质量和性能。随着制造业向精密化、智能化发展,螺纹的公差配合与测量技术正变得越来越重要。

螺纹公差配合是指旋合螺纹之间松紧程度的规定,它由螺纹公差带和公差等级决定。公差带由公差等级和基本偏差组成,决定了螺纹尺寸的允许偏差范围。例如,普通螺纹的公差等级从3级到9级不等,其中6级为基本级。公差等级越高,允许的偏差越小,加工难度也越大。

测量螺纹的关键在于准确获取其几何参数,包括大径、小径、中径、螺距和牙型半角等。常用的测量方法有:

  1. 螺纹环规和塞规测量:这是最简单直接的方法,适用于大批量生产中的快速检验。例如,对于外螺纹,如果“通端”环规能顺利旋入,而“止端”环规不能旋入,则表明螺纹尺寸合格。

  2. 螺纹千分尺测量:主要用于测量螺纹中径。通过两个与螺纹牙形角相同的触头,可以直接读取中径的实际尺寸。

  3. 齿厚游标卡尺测量:适用于梯形螺纹和蜗杆的中径牙厚测量。通过调整卡尺读数至齿顶高,然后测量最小尺寸,即可得到准确的中径牙厚。

  4. 三针测量法:通过在螺纹凹槽内放置三根等直径的量针,然后用千分尺测量特定尺寸,来间接计算螺纹中径。这种方法精度高,但操作相对复杂。

  5. 双针测量法:适用于螺距较大的螺纹。与三针法类似,但使用两根量针,操作更简便。

螺纹的公差配合直接影响着产品的性能和可靠性。例如,在航空航天领域,精密螺纹的公差等级可能达到3级,以确保极端环境下的连接可靠性。而在普通机械制造中,6级公差等级通常就足够满足大多数需求。

值得注意的是,随着3D打印等新技术的应用,螺纹制造和测量技术也在不断发展。例如,一些研究正在探索如何在3D打印零件上实现高精度螺纹,以及相应的测量方法。这表明,螺纹技术正在向着更精密、更智能的方向发展。

总的来说,螺纹的公差配合与测量技术是机械制造中不可或缺的基础。随着制造业向高端化、智能化转型,对螺纹精度的要求只会越来越高。因此,相关企业和技术人员需要不断更新知识,掌握先进的螺纹制造和测量技术,以适应未来的发展需求。