无中横隔梁T梁桥病害分析及加固效果评价

发布时间:2024-09-18

Image

无中横隔梁T梁桥作为一种特殊的桥梁结构,在我国公路和城市道路建设中得到了广泛应用。然而,这种桥梁设计也带来了一些独特的挑战,特别是在病害分析和加固方面。

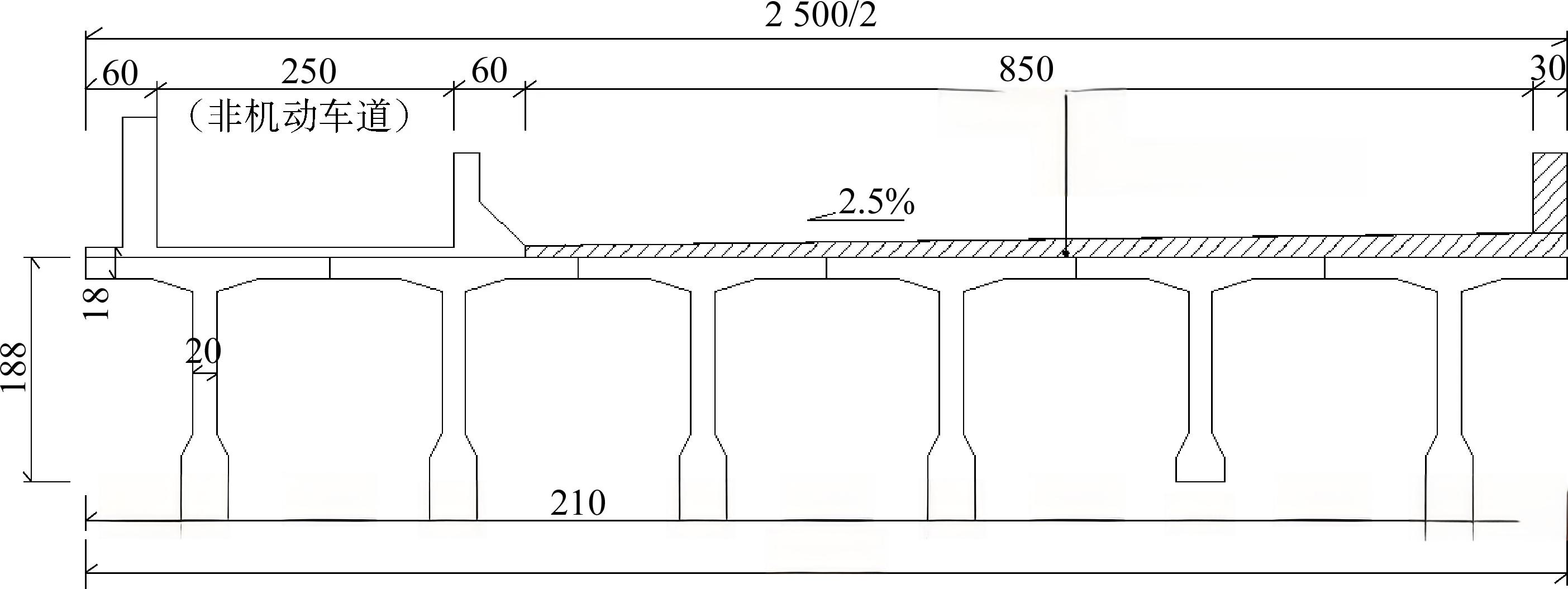
无中横隔梁T梁桥的主要特点是取消了传统的中横隔梁 ,通过加强翼缘板和腹板的连接来提高桥梁的整体性。这种设计可以减少材料使用,降低施工难度,但同时也增加了桥梁在横向荷载作用下的变形风险。

常见的病害类型包括:

  1. 跨中下挠:由于取消中横隔梁,桥梁的横向刚度降低,容易在重载作用下产生下挠。

  2. 翼缘板开裂:由于横向刚度不足,翼缘板在横向荷载作用下容易产生裂缝。

  3. 腹板斜裂缝:在横向荷载和剪力作用下,腹板容易出现斜向裂缝。

针对这些病害,工程技术人员开发了一系列创新的加固方法:

  1. 粘贴纤维复合材料:在翼缘板和腹板表面粘贴碳纤维布或玻璃纤维布 ,可以显著提高桥梁的横向刚度和抗裂性能。

  2. 体外预应力加固:在桥梁底部或侧面设置体外预应力索 ,通过张拉来提高桥梁的承载力和刚度。

  3. 增设横向联系:在桥梁底部增设横向钢梁或混凝土横梁 ,增强桥梁的整体性。

  4. 改变结构体系:通过增设支座或斜撑,将简支梁桥改为连续梁桥 ,提高桥梁的承载力和稳定性。

加固效果的评估通常包括:

  1. 静载试验:通过加载测试桥梁的承载力和变形情况。

  2. 动载试验:测试桥梁的振动特性和动力响应。

  3. 长期监测:安装传感器对桥梁的关键部位进行长期监测,评估加固效果的持久性。

以某座无中横隔梁T梁桥为例, 经过粘贴碳纤维布和增设横向联系的加固后,静载试验结果显示桥梁的承载力提高了20% ,跨中下挠减少了30%。长期监测数据也表明,桥梁的振动频率和振幅均有所改善,加固效果稳定可靠。

无中横隔梁T梁桥的病害分析和加固技术的发展,不仅体现了桥梁工程领域的技术创新,也反映了我们对桥梁安全性和耐久性的持续关注。随着新材料和新技术的应用,相信未来无中横隔梁T梁桥将能够更好地应对各种复杂的使用环境和荷载条件。