内燃加热式生物质气化炉设计

发布时间:2024-09-18

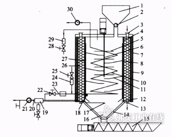
Image

内燃加热式生物质气化炉是一种新型的生物质能源转化设备,它将生物质气化与焦油的催化裂解集于一体,无需额外的热源,简化了制气设备,提高了能源利用率。这种气化炉在生物质能源利用领域展现出巨大的潜力。

该气化炉的工作原理主要分为两个过程:生物质气化和焦油催化裂解。首先,生物质在炉内被干燥,当温度达到160℃以上时,生物质会发生热解并析出挥发分,产生碳、氢气、水蒸气、一氧化碳、二氧化碳、甲烷、焦油等复杂产物。随后,少量空气的加入促使挥发分、炽热的炭和氧气发生不完全氧化反应,生成一氧化碳、二氧化碳和水蒸气,并释放热量。同时,雾化水蒸气和氧化生成的二氧化碳、水蒸气与炽热的炭发生还原反应,生成一氧化碳、氢气和甲烷等可燃气体。这些混合气体由引风机抽取,沿炉壁缝隙向上运动进入催化裂解区。

在催化裂解区,混合气中的焦油在700 900℃的高温下被催化剂裂解,生成与燃气成分相似的小分子气体。这一过程避免了传统方法中需要达到1000 1200℃高温的困难,大大简化了设备要求。

内燃加热式气化炉的设计特点显著 。炉内设有旋转机构,通过控制电动机速度调节物料下落时间,延长生物质在炉内的停留时间,减少气化过程中的焦油产生,提高气化效率。蛇形管燃烧换热装置的设计则减少了燃气中氮气的含量,进一步提高了燃气热值。此外,炉内还设有狭缝式燃气通道,有效分离燃气和灰渣,兼具下吸式气化炉的优点,使产出的可燃气中焦油含量更低。

与传统气化炉相比,内燃加热式气化炉在提高燃气热值和降低焦油方面表现出明显优势 。以麦秸为例,某厂家固定床气化麦秸生成的燃气热值仅为3663kJ/m³,而内燃加热式气化炉可以将燃气热值提高到11~19MJ/m³。同时,该气化炉还能将焦油含量控制在标准状态下的10mg/m³以下,远低于传统气化炉的水平。

内燃加热式生物质气化炉的应用前景广阔。它不仅适用于农村地区的小规模生物质能源利用,还可以用于工业领域的集中供气。随着全球对可再生能源需求的不断增加,这种高效、清洁的生物质气化技术有望在未来的能源结构中占据重要地位,为实现碳中和目标做出贡献。